第一部分:基礎概念與平臺入門
q1:學習施耐德plc編程指令,首先需要了解什么?
a1:在深入指令細節之前,必須建立兩個核心概念:編程軟件平臺和支持的編程語言。
編程軟件平臺:
somachine / ecostruxure machine expert:這是目前施耐德機器控制領域的主力平臺,支持m、l系列等多種plc。它提供了一個集成的環境,用于配置、編程和調試。我們后續的指令詳解主要基于這個平臺。
unity pro xl:主要用于施耐德中大型、過程控制plc(如modicon quantum, m340系列),功能更強大,適用于復雜的流程應用。
結論:指令的具體實現和調用方式與所使用的軟件平臺緊密相關。請根據你的plc型號選擇正確的軟件。
編程語言標準(iec 61131-3): 施耐德plc遵循國際標準iec 61131-3,支持多種編程語言,你需要根據應用場景選擇:
梯形圖:直觀易學,適合邏輯聯鎖和離散控制。
結構化文本語法類似pascal/c,適合復雜的數學計算、算法和數據處理。
功能塊圖:圖形化,通過連接功能塊構建程序,適合過程控制。
指令表:類似匯編語言,執行效率高,但可讀性較差。
順序功能圖:專門用于描述順序工藝流程,非常清晰。
第二部分:核心指令分類詳解
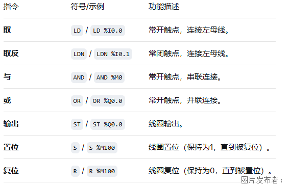
q2:最基本的位邏輯指令有哪些?如何使用?
a2:位邏輯指令是構建所有控制邏輯的基石,用于處理布爾值。


q3:施耐德plc的定時器指令有哪幾種?請詳細說明ton。
a3:定時器用于實現時間延遲、脈沖生成等功能。主要有三種基本類型:
ton:通電延時定時器
somachine中的功能塊調用(fbd):
功能:輸入端in為true時開始計時,當前時間et達到預設時間pt時,輸出q變為true。in變為false時,定時器立即復位(et歸零,q變為false)。
應用:電機星三角啟動延時、設備啟動順序延時。

參數說明:
in: bool - 使能輸入
pt: time - 預設時間值(如t#5s表示5秒)
q: bool - 定時器輸出
et: time - 當前已計時時間
tof:斷電延時定時器。in從true變false時開始計時,計時到則q變false。
tp:脈沖定時器。當in檢測到上升沿時,產生一個寬度為pt的固定脈沖。
q4:計數器指令ctu和ctd是如何工作的?
a4:計數器用于對輸入脈沖進行計數。
ctu:加計數器
功能:在cu輸入端每個上升沿,當前值cv加1。當cv>;= 預設值pv時,輸出q為true。reset輸入端為true時,計數器復位(cv=0,q=false)。
應用:產品數量統計。

ctd:減計數器。在cd端每個上升沿,cv減1。當cv<= 0時,輸出q為true。load輸入端用于將pv值裝載到cv。
ctud:加減計數器。同時具備cu和cd功能,用于雙向計數。
q5:除了上述指令,還有哪些重要的數據處理和運算指令?
a5:這類指令是實現復雜功能的關鍵。
比較指令:>;,>;=,<,<=,=,<>;。用于比較兩個操作數。
示例:if %mw0 >; 100 then %q0.0 := true; end_if;(當溫度值%mw0超過100時報警)
數學運算指令:
add:加法。%mw0 := %mw1 + %mw2;
sub:減法。
mul:乘法。
div:除法。
mod:取模。
移動指令:
move:將一個值復制到另一個變量。%mw10 := %mw20;
轉換指令:用于不同數據類型間的轉換,如int_to_time,word_to_int等。
第三部分:高級應用與最佳實踐
q6:在編程中,如何構建和使用自定義功能塊?
a6:功能塊是結構化編程的核心。你可以將重復使用的邏輯封裝成自定義功能塊。
案例:創建一個電機控制功能塊
定義接口:
輸入:start,stop,fault
輸出:motor_run,motor_fault
內部邏輯:在fb內部用梯形圖或st語言實現啟保停邏輯,并加入故障處理。
實例化調用:在主程序中,可以像使用ton定時器一樣,多次調用這個“電機控制”fb來控制不同的實際電機,只需提供不同的輸入/輸出變量即可。這極大地提高了代碼的復用性和可維護性。
q7:施耐德plc編程中有哪些常見的“坑”和最佳實踐?
a7:
常見陷阱:
地址沖突:確保變量、io點地址沒有重復定義。
掃描周期影響:一個掃描周期內,一個線圈的狀態可能不會立即被后面的指令讀到。理解plc的循環掃描工作原理至關重要。
數據類型不匹配:確保操作數的數據類型一致(例如,不要直接將一個word賦值給一個int變量,盡管它們可能都是16位,但語義不同)。
定時器/計數器濫用:避免在程序中實例化過多同一定時器/計數器,導致資源耗盡。
最佳實踐:
規范化命名:使用有意義的變量名(如mainconveyor_start),而不是簡單的%m0。
結構化編程:使用程序組織單元(prg, fb, fun)將程序模塊化。
添加注釋:為程序、網絡和復雜指令添加詳細注釋,方便日后維護。
善用仿真:somachine的仿真功能非常強大,可以在沒有硬件的情況下測試大部分邏輯,極大提高調試效率。
查閱官方手冊:遇到問題時,首要參考對應軟件和硬件的編程指南和指令手冊,這是最權威的信息來源。
總結
掌握施耐德plc編程指令是一個從基礎指令到功能塊應用,再到系統化工程實踐的循序漸進過程。建議初學者從somachine平臺和梯形圖開始,先熟練運用位邏輯、定時器、計數器這“三巨頭”,然后逐步擴展到數據處理和結構化編程。通過不斷的項目實踐和官方文檔查閱,你必將能熟練駕馭施耐德plc,構建出穩定、高效的自動化控制系統。
(本文內容適用于somachine v4.1及以上版本及兼容的plc系列,具體指令支持情況請以實際使用的硬件和軟件版本為準。)